日期:2012-10-19浏览: 来源:国海滤器

|
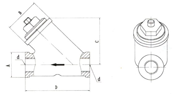
型 号
|
公 称 压 力
MPa |
d
(RC) |
重 量
kg |
|
GGQ-P8
|
40
|
1/4
|
1.15
|
|
3/8
|
1.10
|
||
|
GGQ-P15
|
1/2
|
1.4
|
|
|
GGQ-P20
|
3/4
|
1.5
|
|
|
GGQ-P25
|
1
|
1.6
|
使用GGQ-P25干油过滤器系列——大口径润滑系统专用时应注意
1、该系列多点干油泵应安装在环境温度合适,灰尘少,便于补脂、调整、检查、维护保养等都方便的场合。
2、DDB系列多点干油泵使用前先向一级减速箱内加入HL-20齿轮油至油标规定液面。
3、向干油泵贮油器内补脂必须使用SJB-D60型手动加油泵或DJB-200型电动加油泵从贮油器的加油口加入,注意在贮油器内无润滑脂时严禁启动电机运转。
4、按贮油桶壁上旋向牌规定的旋向进行电机接线,不得反转。
5、加油口的过滤网精度不低于0.2mm,应定期清洗。
6、干油泵应经常保持清洁,严禁揭盖补脂以免脏物进入泵体内,影响正常工作。

国海滤器,用“芯”为每一个客户提供优质过滤产品!
国海滤器,让您满意!—www.ghfilter.com